Schallwand OB-Classic  

 

Home
Nach oben

 

Liebe Musikfreunde

Auf der Suche nach einer geeigneten, offenen Schallwand (Open Baffle) für meine PHY HP Breitbandchassis des leider viel zu früh verstorbenem Bernard Salabert, habe ich Herrn Keith Aschenbrenner vom Auditorium 23 um einen Tipp gebeten. Er empfahl mir ein tausendfach bewährtes japanisches Design, welches schön auf der Homepage von Josef Esmilla (JE Labs) beschrieben ist. Dieses Dipol-Design lehnt sich an die von mir ebenfalls hoch geschätzten ESL 57 Elektrostaten von der Firma Quad, sowie an die von G.A. Briggs entwickelten Wharfedale SFB/3 an. Das absichtlich so tief angeordnete Chassis bekommt hierbei durch die bodennahe Montage Schalldruckunterstützung im Tief-Mitteltonbereich. Durch die schräge Abstrahlung nach oben bildet sich bei richtigem Hörabstand ein in der Breite und in der Höhendarstellung realistisches Klangbild, welches durch innere Ruhe und Kraft brilliert.  Ich habe für meinen Hörraum nach einigen Versuchen die Maße des Originals etwas abgeändert. Diese können einer weiter unten aufgenommen Skizze entnommen werden. Ich hatte drei provisorische Aufbauten mit unterschiedlichen Holzarten gefertigt. Hängen geblieben bin ich bei Ahorn Sperrholz, welches die einzelnen Töne sehr gleichmäßig ausklingen lässt, satte Klangfarben liefert und auch dynamisch sehr zupackend agiert.

 

Aktuelles Bild aus dem Jahr 2017, aufgenommen vom sympathischen Dimitar Sumerski (www.audio-at-home.com) während eines Besuchs bei mir. 

 

Ein Bild aus dem Jahr 2015 vor unserem Umzug: OB Classic Schallwand mit PHY HP Breitbandchassis und Line Magnetic 597 Hochtöner

 

Die Schallwände "OB-Classic" in einer älteren Umgebung und noch ohne Hochtöner

 

Originalzeichnung aus einer japanischen 1996er Stereo Sound "Tube Kingdom" Publikation mit Wechselrahmen für verschiedenste Breitbandchassis

 

Hier eine Skizze meiner leicht abgeänderten und vergrößerten Version mit dem 202mm-Ausschnitt für das PHY HP Breitbandchassis..

 

.. mit zugehöriger Seitenansicht

 

Abholung der neuen Schallwände ..

 

.. bei der Tischlerei meines Vertrauens!

 

Ankunft zu Hause

 

Hier kann man schön das kleine Zusatzbrett am oberen Rand erkennen. Auch wenn man es nicht glaubt: Es gibt klangliche Einbußen, wenn es nicht vorhanden ist! Ursprünglich wurde es jedoch dafür vorgesehen, einen zusätzlichen Hochtöner darauf platzieren zu können.

 

Wie immer dabei und für jeden Quatsch zu haben: mein Sohn Jan

 

Die Tischlerei M58 hat mich bezüglich der Ausführungsqualität auch dieses mal wieder nicht im Stich gelassen

 

Der Ausnahmebreitbänder PHY HP H21 LB15 SAG in der "OB-Classic"

 

Verschraubte Schirmdose mit innen liegendem Alnicomagnet und die sehr dünnen Korbstege für maximale, rückwärtige Schallabstrahlung:

 

 

Ein spannendes Seitenprofil

 

Die OB-Classic in Ruhestellung. Zum intensiven Hören werden sie ca. einen Meter weiter in den Raum gezogen

 

Gastspiel: wunderbare Shindo Cortese Endstufe 

 

PHY HP und die Schallwand OB-Classic: Musik, pur, ungefiltert und emotionsgeladen

 

 In meinen Ohren ein "Perfect Match" in Sachen Verstärkung für die PHY HP: Die Röhrenendstufe  PL82 Concerto Grosso

 

 

Februar 2015

Line Magnetic Audio 597 Hochtöner

Das Schallwandsystem OB Classic wird um ein paar umwerfende Hochtöner erweitert.

 

 

Die passende Hochtonunterstützung für den PHY HP Breitbänder: Line Magnetic Audio 597 

 

1:1 Replik des ersten Hochtöners der Welt von Western Electric aus den 30iger Jahren des letzten Jahrhunderts

 

Real Oldschool Dreamteam: LM 597 und PHY HP H21 LB15 SAG

 

 

 

Western Electric 597a Loud Speaking Telephone: Der erste Hochtöner der Welt

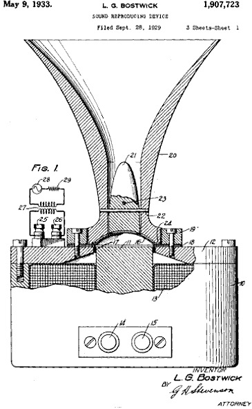
Im September 1929 des letzten Jahrhunderts wurde von Lee G. Bostwick unter der Bell Telephone Inc. der Patentantrag http://www.google.co.in/patents/US1907723 unter anderem für den später von Western Electric eingesetzten Hochtöner 597a eingereicht. Er sollte in den alten Kino- bzw. Theatersystemen dazu genutzt werden, die Übertragung des Filmtones zu höheren Frequenzen hin zu erweitern.

 

Der 597 ist ein fremderregter Treiber mit Feldpule (Fieldcoil). Hierbei wird das Magnetfeld, nicht wie heute üblich über einen Dauermagneten erzeugt, sondern durch eine Spule. Der 597 benötigt hierfür ca. 6-7 Volt Gleichspannung und hat einen Strombedarf von ca. 1 Ampere. 

 

Hornkontur und ein Teil des Aufbaus

 

Prototypenbau

 

Kinowerbung mal anders

 

Kinosystem, ca. 1933 in einem unbekannten "Theater" mit offener Schallwand für den Tieftonbereich, in dem sich auch zwei 597a Hochtöner befinden. Direkt darüber: zwei große WE-15a Hornsysteme mit den ebenfalls längst zur Legende avancierten 555er Druckkammertreibern. Solche Systeme wurden, wie auch oft heutzutage noch, direkt hinter der schalldurchlässigen Kinoleinwand platziert.

 

Einen schönen Bericht über die Line Magnetic 597 Hochtöner gab es in der Zeitschrift "FIDELITY": http://www.fidelity-magazin.de/equipment/line-magnetics-hochtoener/

 

Das Ergebnis?

Die klangliche Verschmelzung der 597 mit den PHY HP Breitbändern von Bernard Salabert ist nach richtiger Abstimmung hinsichtlich Übergangsfrequenz und Lautstärke mit den richtigen Bauteilen (1 Kondensator und 2 Widerstände pro 597) sowie der Versorgung der Feldspulen (Fieldcoil) mit Gleichspannung aus neuen, jedoch mit teilweise historischen Bauteilen aufgebauten Netzteilen (z.B Selen- oder Tungargleichrichter, Siebspulen und einstellbare Hochlastwiderstände) in meinen Ohren als überragend einzustufen. Der PHY HP läuft nach wie vor "fullrange" ohne irgendein Bauteil im Signalweg. Unfassbar, was mit diesen beiden Treibern in Verbindung mit einem klassischen und nach historischem Vorbild aufgebauten Schallwandsystem klanglich machbar ist. Ergreifende Musikwiedergabe, die mich Zeit und Raum vergessen läst. Irre!

 

Die Kondensatorwahl fiel letztendlich auf die exzellenten Audio Note Copperfoil Mylar in Oil Typen, die ich auch in meiner Vor- und den Endstufen betreibe

 

 

 

Neuigkeiten

Im Januar 2016 sind wir in unser neues Haus gezogen, in dem ich mir einen kleinen und akustisch optimierten Hörraum eingerichtet habe. Die OB Classic Schallwände funktionieren darin im Verbund mit der restlichen Musikwiedergabeanlage prächtig. Hier noch Bilder vom aktuellen Sachstand:

 

 

 

 

 

 

 

Kleines aber sehr wichtiges Update aus dem Dezember 2018:

Plattenspieler und die LM 597 Hochtöner haben Niederfrequenzdäpfer von Lignolab (Norbert Gütte) erhalten.

HIER ist der Bericht samt Videos dazu zu finden!

 

 

Aktuelles Setup, Stand Dezember 2018

 

Musikalische Grüße und immer frohes Hören,

euer Michael Methe